- Виды Грильято- Грильято Стандарт
- Грильято CELLIO - 2011
- Пирамидальный Грильято
- Грильято Жалюзи
- Грильято GL15
- Разноуровневый Грильято
- Грильято с нестандартной ячейкой
- Характеристики потолка Грильято
- Минеральные подвесные потолки Армстронг
- Монтаж подвесных потолков Armstrong
- Кассетные потолки
- Подвесные реечные потолки
- Т-профиль
- Светильники для подвесных потолков
- Светодиодные светильники
- Светодиодные светильники Центрстройсвет
- Светильники Грильято встраиваемые
- Встраиваемые светильники ЛВО с зеркальным растром
- Накладные светильники ЛПО с зеркальным растром
- Встраиваемые светильники типа Downlight
- Накладные светильники ЛПО типа Downlight
- Трековые светильники на шинопровод
- Пылевлагозащищенные светильники IP65
- Прожекторы
- Лампы
- Подвесные плиты
- Плиты потолочные минеральные
Монтаж подвесных потолков Armstrong

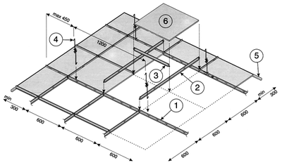
Схема сборки минеральных подвесных потолков
1. Профиль несущий.
2. Профиль поперечный.
3. Профиль поперечный секционный.
4. Подвес.
5. Уголок периметральный.
6. Плита.
Порядок сборки потолков Армстронг
1. По периметру помещения устанавливается угловой профиль (5). Высота установки уголка определяет высоту подвесного потолка
2. К потолочным перекрытиям крепятся потолочные подвесы (4).
3. На подвесы крепятся несущие профили (1). Между собой несущие профили сращиваются с помощью замковых соединений.
4. Поперечные профили (2) и поперечно-секционные профили (3) закрепляются в несущих профилях (1) и формируют ячейки размером 600х600.
5. В получившуюся конструкцию укладываются минеральные плиты и светильники.








